收起左侧

有人救命吗?阵列下线了 点击修复没反应

4
回复
931
查看
[ 复制链接 ]

4

主题

1

回帖

0

牛值

江湖小虾

2025-3-5 19:40:12 显示全部楼层 阅读模式
悬赏1飞牛币未解决

[i=s] 本帖最后由 温xx 于 2025-3-5 19:44 编辑 [/i]<br /> <br />

image.png

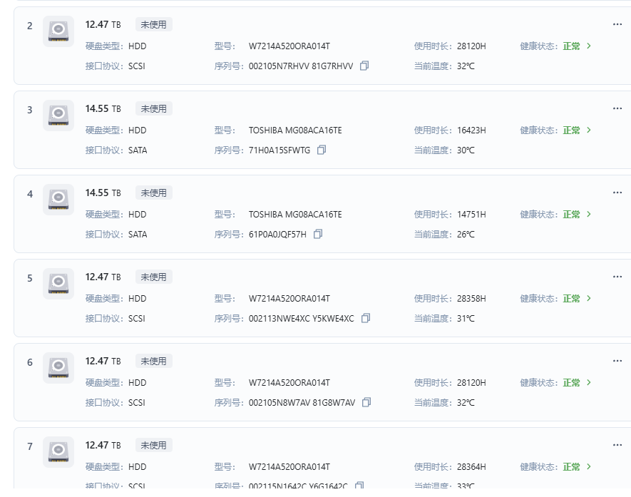
硬盘状态现在显示:

image.png

附件: 您需要 登录 才可以下载或查看,没有账号?立即注册
收藏
送赞 1
分享

本帖子中包含更多资源

您需要 登录 才可以下载或查看,没有账号?立即注册

x

3

主题

3611

回帖

640

牛值

共建版主

社区共建团荣誉勋章飞牛百度网盘玩家fnOS1.0上线纪念勋章

2025-3-5 22:31:30 显示全部楼层
加群找小管家
群号不知道啊  详情 回复
2025-3-5 22:44
我命由我不由天!是魔是仙,只有我自己说了算!

4

主题

1

回帖

0

牛值

江湖小虾

2025-3-5 22:44:27 楼主 显示全部楼层
群号不知道啊

3

主题

3611

回帖

640

牛值

共建版主

社区共建团荣誉勋章飞牛百度网盘玩家fnOS1.0上线纪念勋章

2025-3-6 00:06:47 显示全部楼层

官网主页右上角有
我命由我不由天!是魔是仙,只有我自己说了算!

1

主题

5

回帖

0

牛值

江湖小虾

2025-4-14 21:55:58 显示全部楼层
解决了吗?
您需要登录后才可以回帖 登录 | 立即注册

本版积分规则