收起左侧

飞牛更新是不是动了硬盘相关的参数

4
回复
705
查看
[ 复制链接 ]

13

主题

112

回帖

0

牛值

初出茅庐

2025-9-22 14:53:04 显示全部楼层 阅读模式
悬赏1飞牛币未解决

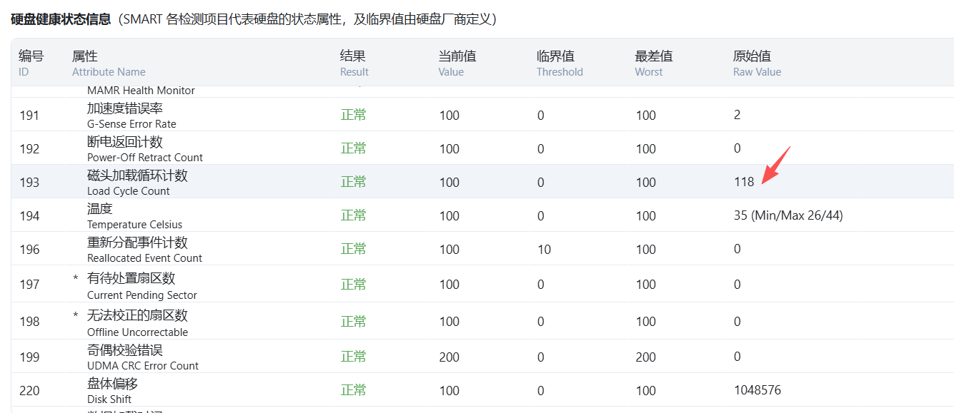
飞牛更新是不是动了硬盘相关的参数设置,硬盘是东芝MG09 原来无论设置APM为128 192 254,过一段时间不访问硬盘,磁头加载循环计数都会+1,除非设置APM=255才不会增加,更新完27系统后无论设置apm为多少这个数值都不会涨了,(128以下没试过)只有重启后才会增加。

image.png

附件: 您需要 登录 才可以下载或查看,没有账号?立即注册
收藏
送赞
分享

本帖子中包含更多资源

您需要 登录 才可以下载或查看,没有账号?立即注册

x

3

主题

3611

回帖

640

牛值

共建版主

社区共建团荣誉勋章飞牛百度网盘玩家fnOS1.0上线纪念勋章

2025-9-22 16:23:39 显示全部楼层
这个问题已知....
啥?没听明白?原来我硬盘不休眠,没有声音,现在每隔5秒就咯噔一下,睡觉都睡不好,我就设置休眠了  详情 回复
2025-9-22 16:28

13

主题

112

回帖

0

牛值

初出茅庐

2025-9-22 16:28:19 楼主 显示全部楼层

啥?没听明白?原来我硬盘不休眠,没有声音,现在每隔5秒就咯噔一下,睡觉都睡不好,我就设置休眠了

4

主题

763

回帖

0

牛值

fnOS系统内测组

社区共建团荣誉勋章飞牛百度网盘玩家fnOS1.0上线纪念勋章

2025-9-22 16:39:36 显示全部楼层

论坛有帖子可以调整磁头归位好像

我知道,修改了很多参数了都改不了,原来是能改的不知道现在咋回事了,  详情 回复
2025-9-22 18:02

13

主题

112

回帖

0

牛值

初出茅庐

2025-9-22 18:02:43 楼主 显示全部楼层
yyywd 发表于 2025-9-22 16:39
论坛有帖子可以调整磁头归位好像

我知道,修改了很多参数了都改不了,原来是能改的不知道现在咋回事了,
您需要登录后才可以回帖 登录 | 立即注册

本版积分规则