收起左侧
楼主: 哄哄_CamV5

千万别买!天钡WRT PRO NAS主机:一场从头烂到脚的硬件灾难!(附血泪证据图)

103
回复
16215
查看
  [ 复制链接 ]

1

主题

6

回帖

0

牛值

江湖小虾

2025-5-21 08:58:59 楼主 显示全部楼层
MUJIANG 发表于 2025-4-20 21:05
我是天钡wrtpro 5825u这款,24年11月中旬购入。这厂家太曹丹了,简单说说吧,照片忘记拍了。最近天热了,简 ...

吓人,看来我也需要把机器拆了看一看了,刚才看了一下,什么都不干,CPU已经80+的温度了

0

主题

4

回帖

0

牛值

江湖小虾

2025-5-21 12:01:25 显示全部楼层

进来看看发生了什么,感谢提醒

0

主题

9

回帖

0

牛值

江湖小虾

2025-5-22 09:34:17 显示全部楼层

继续观望中

0

主题

3

回帖

0

牛值

江湖小虾

2025-5-26 11:35:20 显示全部楼层
lpyyyy 发表于 2025-3-19 11:07
5825u的用了半个月挺正常的,插了一个nvme两个机械盘一个sata固态盘

所以很可能是电源功率的问题,4个sata盘可能带不动。

0

主题

3

回帖

0

牛值

江湖小虾

2025-5-26 11:43:02 显示全部楼层
flagking 发表于 2025-3-26 13:06
啊,我刚买了他们加5825u,三块4T,一块1tm2,目前用起来还好,希望人没事

哥,请你持续报告平安啊。

0

主题

1

回帖

0

牛值

江湖小虾

2025-5-28 15:09:41 显示全部楼层
航嘉电源能分享一下吗

0

主题

1

回帖

0

牛值

江湖小虾

2025-5-31 18:25:16 显示全部楼层
隔境之念。 发表于 2025-4-11 10:43
我也是买了天钡WRT PRO,原装电源带不起来4块银河8T和2块SSD,然后换了航嘉的19V240W的电源,可以起来,没过 ...

我看绿联的一个nas,4盘位的也是120w的电源,这个nas电源也是不够么?
绿联的没研究,自己组了,不敢碰这些了。  详情 回复
2025-6-1 11:02

4

主题

52

回帖

0

牛值

初出茅庐

2025-6-1 11:02:38 显示全部楼层
chips 发表于 2025-5-31 18:25
我看绿联的一个nas,4盘位的也是120w的电源,这个nas电源也是不够么?

绿联的没研究,自己组了,不敢碰这些了。

2

主题

4

回帖

0

牛值

江湖小虾

2025-6-14 22:59:56 显示全部楼层

我也是5825u的天钡,运行过程中在飞牛百度云盘里面添加了一个任务,没过多久就直接断 电关机了。

自此按开机键只会闪烁一下,但无法启动机器。

买了一个19v180W全汉的电源适配器,依然无法开机。

我现在已经换货了。回顾一下之前可能导致问题的操作: 1. 在Bios里面把核显显存从500M提升到2M 2. 把机器后面风扇下面的散热口堵住,听说这样有助于散热 3. 当时后台在挂着一个4K的视频,同时添加了三个下载任务 现  详情 回复
2025-6-16 13:15

2

主题

4

回帖

0

牛值

江湖小虾

2025-6-16 13:15:11 显示全部楼层
游目骋怀 发表于 2025-6-14 22:59
我也是5825u的天钡,运行过程中在飞牛百度云盘里面添加了一个任务,没过多久就直接断 电关机了。
自此按开 ...

我现在已经换货了。回顾一下之前可能导致问题的操作:
1. 在Bios里面把核显显存从500M提升到2M
2. 把机器后面风扇下面的散热口堵住,听说这样有助于散热
3. 当时后台在挂着一个4K的视频,同时添加了三个下载任务
现在新的机器我换了全汉180W电源,能够正常开机使用。之前的所有硬盘都迁移过来,没有数据损失,基本就是一个ip地址变了,其他没有变化。
虽然当时是刚添加下载任务不久机器就挂掉了,但是我现在在想有没有可能是不是第一个操作的原因导致机器出问题?

11

主题

39

回帖

0

牛值

初出茅庐

2025-6-24 11:55:01 显示全部楼层

现在的市场良莠不齐,几个人的草台班子敢自称技术团队。出问题连报错信息都解读不了,只会让你换硬件。还是要擦亮眼睛。

3

主题

6

回帖

0

牛值

江湖小虾

2025-7-4 00:34:21 显示全部楼层
我也来跟帖 wtrpro 四硬盘(希捷8t) 休眠唤醒必**盘,今天发现重启解决不了问题了,目前在想办法捞数据

0

主题

16

回帖

0

牛值

江湖小虾

2025-7-7 08:39:42 显示全部楼层
momo_VCR9r 发表于 2025-3-17 18:21
99%电源的锅
N100  开起硬盘休眠之后唤醒总是掉盘、毕现。
原厂19V   120W DC 。后来自己换了180W电源之后 ...

N100功耗这么高吗,我自组的G8505平台,90W的适配器直插电源,一块机械,三块SSD。用了快一年了也没问题呢

0

主题

1

回帖

0

牛值

江湖小虾

2025-7-8 10:19:17 显示全部楼层

话说只有5825u的会出这些问题吗,N100的有没有?另外618后pdd上架了oem版的wrt pro,看起来硬盘笼和外观接口都有更新,不知道上边的问题修没修复好,等一个勇士老哥的评测。

我了这款,接口在背后的,型号为N1S,用的N150的U,1个内存插槽,自带64G EMMC可以装FNOS,两个M.2,一个WIFI(可转接一个M2),4个3.5寸,极限可以7盘位,目前3个机械,2个M.2一切正常。它原装电源是96W的。  详情 回复
2025-7-10 17:09

0

主题

1

回帖

0

牛值

江湖小虾

2025-7-10 15:04:15 显示全部楼层

N150 500G HDD+500G SSD+16T SSD 目前没问题

9

主题

64

回帖

0

牛值

初出茅庐

2025-7-10 17:09:47 显示全部楼层
余生多指教 发表于 2025-7-8 10:19
话说只有5825u的会出这些问题吗,N100的有没有?另外618后pdd上架了oem版的wrt pro,看起来硬盘笼和外观接 ...

我了这款,接口在背后的,型号为N1S,用的N150的U,1个内存插槽,自带64G EMMC可以装FNOS,两个M.2,一个WIFI(可转接一个M2),4个3.5寸,极限可以7盘位,目前3个机械,2个M.2一切正常。它原装电源是96W的。

5

主题

18

回帖

0

牛值

江湖小虾

2025-7-23 14:50:06 显示全部楼层

4个盘的你们能启动的都已经很厉害了,我都是开机硬盘响一声就熄火了

1

主题

80

回帖

0

牛值

初出茅庐

2025-7-28 16:17:33 显示全部楼层

功耗吓人啊

5

主题

7

回帖

0

牛值

江湖小虾

2025-8-21 09:25:29 显示全部楼层
爱国爱党一 发表于 2025-3-27 13:34
换了230W的电源,死机现象少了,确实电源不行,
但是搞不明白的就是,他是120W的,我实测最高用到45W 按理余量不 ...

可能是瞬时功耗超了,硬盘启动时瞬时功耗是远大于日常读写的

2

主题

1

回帖

0

牛值

江湖小虾

2025-9-9 21:47:24 显示全部楼层
同设备 目前插了3个 hdd 2个 m2,没有遇到任何异常情况

1

主题

2

回帖

0

牛值

江湖小虾

2025-9-10 16:42:21 显示全部楼层

这型号真不行吗? 我咋没提前看到这个文章,我刚买了一周,5825U,4个4T机械加2个SSD,目前运行没问题。 这么可怕 吗? 刚开始我自购的16G内存不兼容,找NAS厂家买了一根就正常装上飞牛了。退不退,大家给外意见。

0

主题

39

回帖

0

牛值

江湖小虾

2025-9-16 15:21:32 显示全部楼层

打算买这款NAS来着。。。。。。

楼主问题原因可能如下:

1、随机配的120W电源适配器功耗虚标,亦或电源纹波不达标。
但4块机械盘 * 30W(给个最大值算)的启动瞬时功耗就有120W了,插满硬盘有可能带不动。

2、天钡的硬盘背板就没有在电气层面做一个按顺序错峰启动的电路支撑设计,导致机器启动瞬间功耗超过电源适配器峰值。
理论上来说,一个要做NAS的厂商,这个错峰启动(Staggered Spin-Up、Hard Disk Pre-Delay)功能应该需要支持的。

为什么配120W,我都觉得就没有设计这个玩意。
有没有这个得电气大佬拆解了才能知道了,求电气大佬打脸。

解决办法:

就是买一个120W以上的品牌电源适配器。
或者厂家要支持磁盘错峰启动(但这个很不应该吧),这样一个90W的电源适配器都足以。

2

主题

12

回帖

0

牛值

江湖小虾

2025-9-19 07:34:27 显示全部楼层
Kiwis 发表于 2025-3-20 19:11
前段时间还考虑买天呗来着。。

都是学小米,硬件堆料,系统软件优化拉跨。硬件反正不是自己研发直接买的,想怎么堆怎么堆,软件适配就是自己的活了。软件系统能有多拉就多拉,最近不是小米也要出NAS了吗?但凡吃过亏的都不会考虑他们家的产品,NAS要的是稳定性,稳定性,稳定性!重要的事情说三遍。群晖目前仍是最稳定系统,我的白裙稳定运行快4年了。J1800的飞牛稳定运行半年了,飞牛崩过一次,幸亏我所有数据冷备份了,不然,我四年自驾游的照片视频,我走了大半个中国的回忆,我跟我老婆这几年拍的所有照片,几万块的艺术写真就全炸了。我拿旧硬盘挂NAS,新硬盘做冷备份盘,就怕数据会丢,所有数据云盘一份,群晖一份,飞牛一份,冷备份一份。我一个J1800,日常待机cpu占用率都是1%,我追求个**毛硬件堆料啊。我现在就在观望飞牛自家硬件,价格合适10月底从贵州四川旅游回来就支持下,不过以我理科生的思维来看,我不应该买首批产品,我一般会买第三批产品,我需要前面两批用户帮我趟雷。我买车如此,买手机电脑都是如此。

11

主题

51

回帖

0

牛值

初出茅庐

2025-9-22 11:10:22 显示全部楼层
3号硬盘位确实存在CRC错误问题,塞满硬盘也确实会掉盘。刚买来的时候就发现了,说是我硬盘问题。单盘运行了3个月没啥问题,最近买来新硬盘塞满,这两个问题依旧出现。已经返厂了。估计没啥卵用
有解决吗?我现在塞满也会CRC,并且跑满直接断 电了。  详情 回复
2025-12-7 05:02

18

主题

208

回帖

0

牛值

小有名气

2025-10-5 16:02:42 显示全部楼层

看了下外网评测年度最差就这款了

0

主题

1

回帖

0

牛值

江湖小虾

2025-10-14 16:35:18 显示全部楼层

一直在关注这款机器,N150的,现在是不是不能下手了?

33

主题

1282

回帖

0

牛值

系统先锋体验团🛩️

飞牛百度网盘玩家fnOS1.0上线纪念勋章

2025-10-14 17:46:58 显示全部楼层

NAS还是得买大牌的,最起码经过市场验证过,毕竟用NAS的基本上都是对数据保存要求严的,数据无价啊

1

主题

17

回帖

0

牛值

江湖小虾

2025-10-15 11:45:32 显示全部楼层
天钡的产品不能买,品控很差。我9月份买了一台准系统的WTR N150装飞牛来玩,轻轻一碰就重启,插拔个usb也重启。客服还问我是不是家里电路不行。我其他设备怎么整都可以,拿起来晃都没事。用了2天赶紧退货。

4

主题

6

回帖

0

牛值

江湖小虾

2025-10-16 11:30:31 显示全部楼层

莫吓我,我用了得好好得呀,不过我只加了一块硬盘,正准备考虑加块16t硬盘呢

2

主题

13

回帖

0

牛值

江湖小虾

2025-10-30 14:03:07 显示全部楼层
MUJIANG 发表于 2025-4-20 21:05
我是天钡wrtpro 5825u这款,24年11月中旬购入。这厂家太曹丹了,简单说说吧,照片忘记拍了。最近天热了,简 ...

正在改后盖,换硅脂中

0

主题

3

回帖

0

牛值

江湖小虾

2025-11-19 16:47:56 显示全部楼层

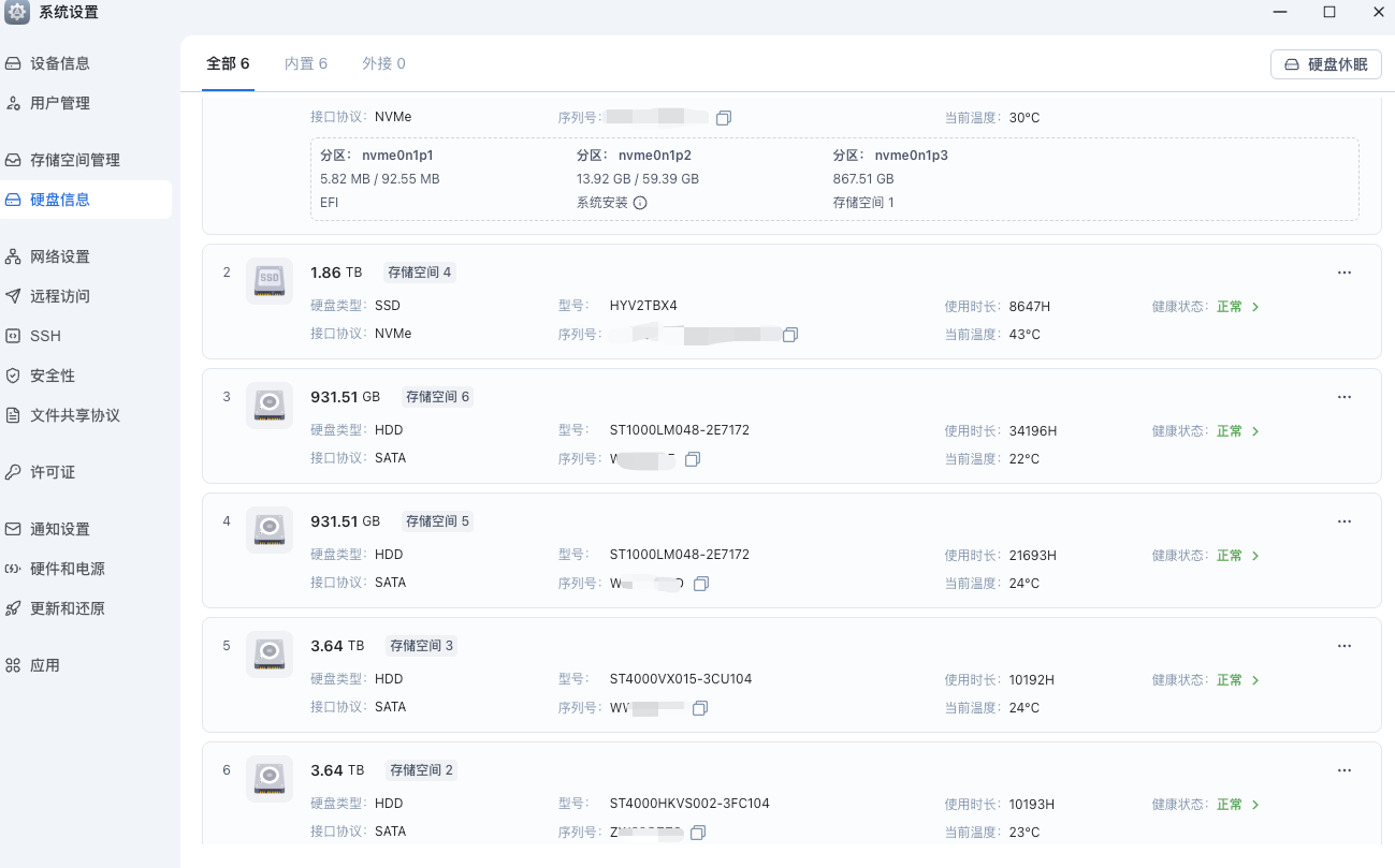
2025/11 月购买的 AMD 版主机,4块红盘,没有出现断 电情况,但是内核crc错误一直存在:

image.png

本帖子中包含更多资源

您需要 登录 才可以下载或查看,没有账号?立即注册

x
我也有这个问题,而且功耗一高就断 电,功耗可以通过自己换电源解决,这个有办法吗?  详情 回复
2025-12-5 09:54

3

主题

10

回帖

0

牛值

系统先锋体验团🛩️

飞牛百度网盘玩家fnOS1.0上线纪念勋章

2025-11-21 17:13:13 显示全部楼层
这个硬件刷飞牛系统也有这种问题吗?

1

主题

3

回帖

0

牛值

江湖小虾

fnOS1.0上线纪念勋章

2025-12-2 16:12:18 显示全部楼层

一个nas要这么高的功率干啥

0

主题

1

回帖

0

牛值

江湖小虾

2025-12-3 14:24:15 显示全部楼层

我也是买了这款,插上我的硬盘,拷贝资料进去还没拷完就报错了一块硬盘,我还以为是我的运气问题!

0

主题

28

回帖

0

牛值

江湖小虾

2025-12-4 10:24:29 显示全部楼层

这个这么垃圾嘛

1

主题

4

回帖

0

牛值

江湖小虾

2025-12-5 09:54:02 显示全部楼层
stkevintan 发表于 2025-11-19 16:47
2025/11 月购买的 AMD 版主机,4块红盘,没有出现断 电情况,但是内核crc错误一直存在:

...

我也有这个问题,而且功耗一高就断 电,功耗可以通过自己换电源解决,这个有办法吗?

1

主题

4

回帖

0

牛值

江湖小虾

2025-12-5 09:57:56 显示全部楼层

一样的sdc-SMART的UltraDMA CRC错误,一样的功耗一高直接关机,也没法远程开机,现在在国外很绝望,这个还有办法修复吗,买了很久了也没法退换了。

1

主题

4

回帖

0

牛值

江湖小虾

2025-12-7 05:02:43 显示全部楼层
一米高的高 发表于 2025-9-22 11:10
3号硬盘位确实存在CRC错误问题,塞满硬盘也确实会掉盘。刚买来的时候就发现了,说是我硬盘问题。单盘运行了 ...

有解决吗?我现在塞满也会CRC,并且跑满直接断 电了。
解决不了,之前说我硬盘问题,我单盘跑了3个月,看着稳定了。我又新买来4块,20多个小时又出现了,塞满了还会掉盘。给返厂了,修了一个月没弄好,就退货了。新买了铭凡N5,用着挺爽。  详情 回复
2025-12-10 12:52

11

主题

51

回帖

0

牛值

初出茅庐

2025-12-10 12:52:23 显示全部楼层
raytion 发表于 2025-12-7 05:02
有解决吗?我现在塞满也会CRC,并且跑满直接断 电了。

解决不了,之前说我硬盘问题,我单盘跑了3个月,看着稳定了。我又新买来4块,20多个小时又出现了,塞满了还会掉盘。给返厂了,修了一个月没弄好,就退货了。新买了铭凡N5,用着挺爽。

7

主题

189

回帖

0

牛值

禁止发言

2025-12-12 09:14:24 显示全部楼层
提示: 作者被禁止或删除 内容自动屏蔽

12

主题

109

回帖

0

牛值

初出茅庐

2025-12-12 09:16:24 显示全部楼层

到底是第2还是第3盘位,从上往下数还是从下往上。

14

主题

42

回帖

0

牛值

fnOS系统内测组

2025-12-17 15:41:26 显示全部楼层

我也是这款,没什么问题呀,我从去年十月份到目前最新的内测系统都没掉过盘,就是xiaoya 跑爬虫cpu温度有点高
1f56bf0b9caad0b29e2101ec9dbf221e.png

本帖子中包含更多资源

您需要 登录 才可以下载或查看,没有账号?立即注册

x
我刚买了这个NAS,想请教几个问题: 1. 在使用正常的情况下,硬盘出现CRC错误计数了吗?就是SMART中的C7,我两块6000小时的硬盘的原始值都是0。 2. 你使用的是随机带的电源,还是自己更换的电源呀? 另外我看你使用  详情 回复
2025-12-17 22:22

1

主题

34

回帖

0

牛值

江湖小虾

2025-12-17 22:22:07 显示全部楼层
涨涨涨 发表于 2025-12-17 15:41
我也是这款,没什么问题呀,我从去年十月份到目前最新的内测系统都没掉过盘,就是xiaoya 跑爬虫cpu温度有点 ...

我刚买了这个NAS,想请教几个问题:
1. 在使用正常的情况下,硬盘出现CRC错误计数了吗?就是SMART中的C7,我两块6000小时的硬盘的原始值都是0。
2. 你使用的是随机带的电源,还是自己更换的电源呀?
另外我看你使用的好像是3个2T的机械硬盘,1个4T的机械硬盘,和两个1T的固态。他们出问题的硬盘好像都是大容量硬盘,10T以上的那种。卖家提示这种大硬盘启动电流是2.6A,4个盘同时启动的话就是125W了。如果没设置好的话,同时唤醒4个硬盘,感觉出问题也挺正常的。如果算上CPU主板内存固态的功耗,得再加上30W,180W的电源可能才勉强够他们用。
我的是自带电源,两块ssd 系统1t、另一块2t,自上而下1、2都是4t盘,3和4是我最近从笔记本上拆下的1t小盘;第二块4t盘crc 原始值4034,其他盘都是0。 耗电也是比较低的,小米插座上包含了nas和路由器一些小设备,一  详情 回复
2025-12-18 18:29

14

主题

42

回帖

0

牛值

fnOS系统内测组

2025-12-18 18:29:50 显示全部楼层
[quote][size=2][url=forum.php?mod=redirect&goto=findpost&pid=216836&ptid=18322][color=#999999]WindnBike 发表于 2025-12-17 22:22[/color][/url][/size] 我刚买了这个NAS,想请教几个问题: 1. 在使用正常的情况下,硬盘出现CRC错误计数了吗?就是SMART中的C7 ...[/quote]

我的是自带电源,两块ssd 系统1t、另一块2t,自上而下1、2都是4t盘,3和4是我最近从笔记本上拆下的1t小盘;第二块4t盘crc 原始值4034,其他盘都是0。

耗电也是比较低的,小米插座上包含了nas和路由器一些小设备,一天大约1度电左右。
c36ddb3f778db8ffc345357b1ad194f2.png

dd83836793c2012bc4b2127e7eaa1000.png

e2f999c460b300aca5b1a44c5d2d1825.png

本帖子中包含更多资源

您需要 登录 才可以下载或查看,没有账号?立即注册

x
感谢! 看样子CRC的问题依然存在,**以后我测一下。我猜测可能是第二个硬盘位的供电有点问题,启动电流不够的话好像容易出现CRC错误,现在还不能确定。  详情 回复
2025-12-18 18:55

1

主题

34

回帖

0

牛值

江湖小虾

2025-12-18 18:55:13 显示全部楼层
涨涨涨 发表于 2025-12-18 18:29
我的是自带电源,两块ssd 系统1t、另一块2t,自上而下1、2都是4t盘,3和4是我最近从笔记本上拆下的1t小盘 ...

感谢!
看样子CRC的问题依然存在,**以后我测一下。我猜测可能是第二个硬盘位的供电有点问题,启动电流不够的话好像容易出现CRC错误,现在还不能确定。
可能是我的最后两块盘不是3.5寸的,供电不是很大,回头买两个大点的插上再看看  详情 回复
2025-12-19 09:25

14

主题

42

回帖

0

牛值

fnOS系统内测组

2025-12-19 09:25:46 显示全部楼层
WindnBike 发表于 2025-12-18 18:55
感谢!
看样子CRC的问题依然存在,**以后我测一下。我猜测可能是第二个硬盘位的供电有点问题,启动电流不 ...

可能是我的最后两块盘不是3.5寸的,供电不是很大,回头买两个大点的插上再看看
我只挂了2块大硬盘,1个16T HC550,1个10T HC510,第2盘位装的是S3520固态硬盘。 安装飞牛后S3520出现1个重分配扇区数,CRC错误计数4,未分配扇区数2。 CRC错误应该和供电没关系,感觉是WTR Pro 5820U背板设计问题,  详情 回复
2025-12-19 12:53
已经出现CRC错误了,建议更换一个大点的电源呀。 我已经拿到WTR Pro了,正在测试。随机电源还是吉宏达120W,我没用,换的航嘉120W。BIOS已经是2/6的新版了,开机时目测硬盘同时上电,但是有两声起转。 目前是970Pro+  详情 回复
2025-12-19 11:06

1

主题

34

回帖

0

牛值

江湖小虾

2025-12-19 11:06:05 显示全部楼层
涨涨涨 发表于 2025-12-19 09:25
可能是我的最后两块盘不是3.5寸的,供电不是很大,回头买两个大点的插上再看看 ...

已经出现CRC错误了,建议更换一个大点的电源呀。
我已经拿到WTR Pro了,正在测试。随机电源还是吉宏达120W,我没用,换的航嘉120W。BIOS已经是2/6的新版了,开机时目测硬盘同时上电,但是有两声起转。
目前是970Pro+3x512G希捷+512G西数,上了4块老硬盘做测试。
重启了几次,所有硬盘CRC都是0。等180W的电源到了,我再上大硬盘测试。

1

主题

34

回帖

0

牛值

江湖小虾

2025-12-19 12:53:28 显示全部楼层
涨涨涨 发表于 2025-12-19 09:25
可能是我的最后两块盘不是3.5寸的,供电不是很大,回头买两个大点的插上再看看 ...

我只挂了2块大硬盘,1个16T HC550,1个10T HC510,第2盘位装的是S3520固态硬盘。
安装飞牛后S3520出现1个重分配扇区数,CRC错误计数4,未分配扇区数2。
CRC错误应该和供电没关系,感觉是WTR Pro 5820U背板设计问题,插上大硬盘就会导致第2盘位出错。
频繁读写自上而下的第二块盘CRC的值确实会涨,甘  详情 回复
2025-12-30 09:54

14

主题

42

回帖

0

牛值

fnOS系统内测组

2025-12-30 09:54:14 显示全部楼层
WindnBike 发表于 2025-12-19 12:53
我只挂了2块大硬盘,1个16T HC550,1个10T HC510,第2盘位装的是S3520固态硬盘。
安装飞牛后S3520出现1个 ...

频繁读写自上而下的第二块盘CRC的值确实会涨,甘
对,是从上到下第2盘位容易出问题,如果只是CRC还好。别在第2盘位装固态,可能出坏块。应该是供电波动导致的,但是具体什么情况就不清楚了。  详情 回复
2025-12-30 10:01

1

主题

34

回帖

0

牛值

江湖小虾

2025-12-30 10:01:43 显示全部楼层
涨涨涨 发表于 2025-12-30 09:54
频繁读写自上而下的第二块盘CRC的值确实会涨,甘

对,是从上到下第2盘位容易出问题,如果只是CRC还好。别在第2盘位装固态,可能出坏块。应该是供电波动导致的,但是具体什么情况就不清楚了。
今天通过 sudo grep "I/O error" /var/log/kern.log* 一查,从我硬盘插上开始,就一直报错,报了一年错误;天钡售后也是拉跨,质保内寄过去邮费自付。  详情 回复
2025-12-31 15:07
您需要登录后才可以回帖 登录 | 立即注册

本版积分规则