收起左侧

系统未知原因卡死,web和app均无法登录

3
回复
1192
查看
[ 复制链接 ]

1

主题

2

回帖

0

牛值

江湖小虾

2025-2-8 17:12:20 显示全部楼层 阅读模式

设备环境:物理机,局域网,系统为最新的0.8.36.645,手机APP版本也为最新版

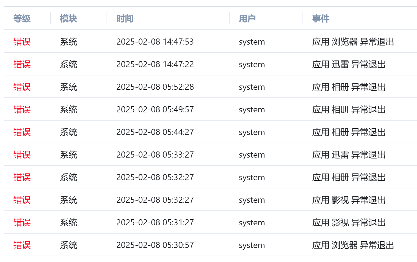
BUG现象:偶然出现web网页端无法打开登录页面,手机app也无法连接,后强制断 电重启可以登录进去,查看日志发现死机前均有大量应用错误报告

出现频率:偶现(今天一天内出现了两次)

联系方式:fnOS102群-打工战士

bbed1d8b78a286856c29193e49dbb5ba.jpg

9f345811717dcf81b752705853eb9d32.jpg

收藏
送赞 1
分享

本帖子中包含更多资源

您需要 登录 才可以下载或查看,没有账号?立即注册

x

1

主题

2

回帖

0

牛值

江湖小虾

2025-2-8 17:14:35 楼主 显示全部楼层
死机前未进行任何操作(看日志是早上五点半大量报错的),debug日志导出了,不知如何提交给你们?

277

主题

1万

回帖

0

牛值

管理员

fnOS1.0上线纪念勋章

2025-2-8 18:52:21 显示全部楼层
这里提交就可以如果上传有限制可以使用外链分享
[md]链接: https://pan.baidu.com/s/1TaNtZhK_7PPVCJrEcMFbYw?pwd=72cq 提取码: 72cq 复制这段内容后打开百度网盘手机App,操作更方便哦 [/md]  详情 回复
2025-2-8 20:08

1

主题

2

回帖

0

牛值

江湖小虾

2025-2-8 20:08:35 楼主 显示全部楼层

链接: https://pan.baidu.com/s/1TaNtZhK_7PPVCJrEcMFbYw?pwd=72cq 提取码: 72cq 复制这段内容后打开百度网盘手机App,操作更方便哦

您需要登录后才可以回帖 登录 | 立即注册

本版积分规则