收起左侧

重启后设备信息及硬盘信息加载的很慢

2
回复
487
查看
[ 复制链接 ]

0

主题

2

回帖

0

牛值

江湖小虾

2025-9-23 18:05:30 显示全部楼层 阅读模式

设备环境:PVE虚拟机、局域网/反代/域名、fnOS 0.9.27

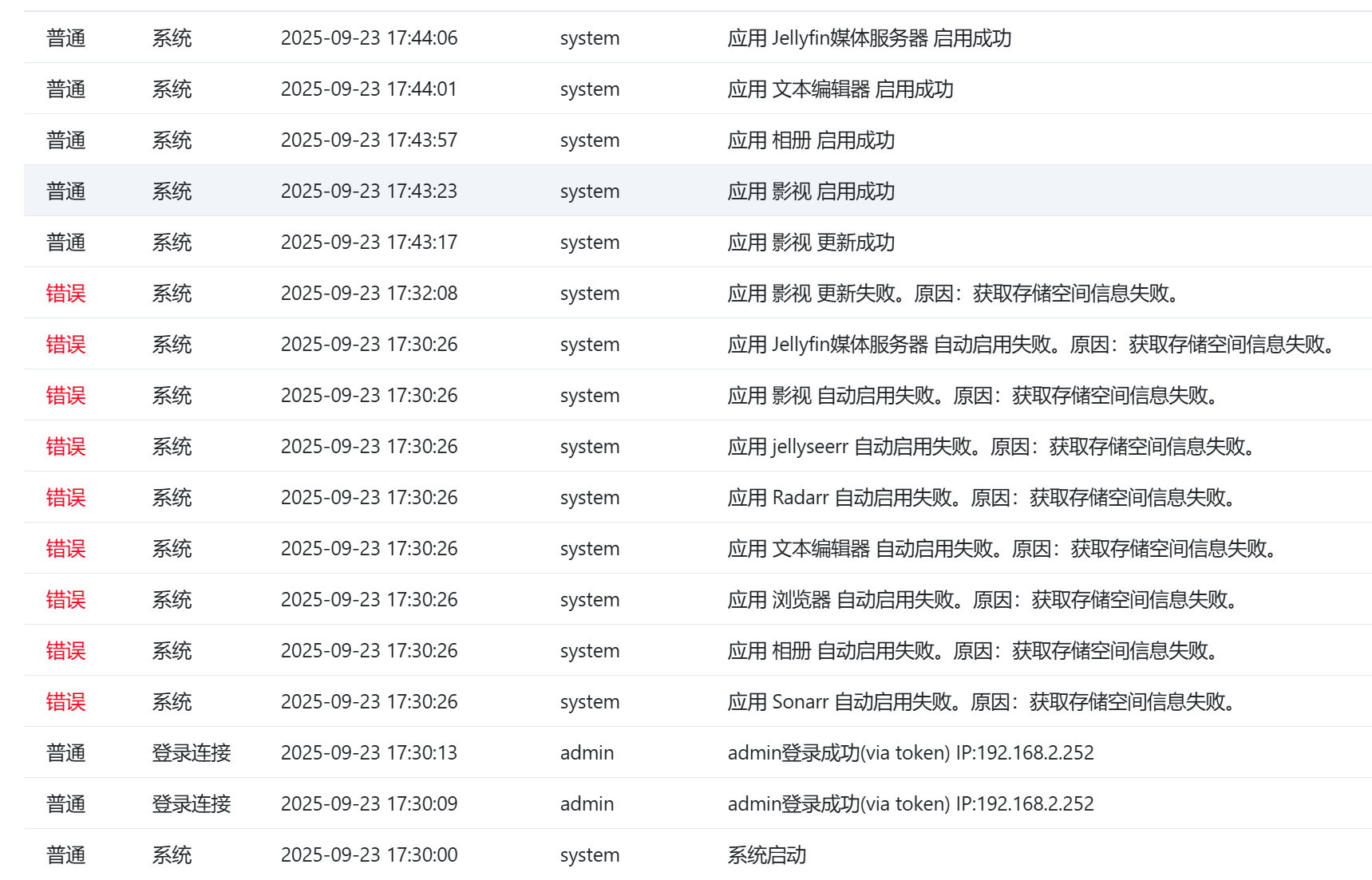
BUG现象:每次重启系统后,设备信息及硬盘信息加载的很慢(大概要5分钟才能加载出来),都已经能够进入系统了都还没有加载出来,这就导致docker及自带的应用无法自动启动,如图为启动后设备及硬盘信息显示状态还有部分日志:

image.png

image.png

出现频率:必现

联系方式:19156583554

日志文件:https://file.ic-edu.net:8443/#s/_-nGs9Bw

收藏
送赞
分享

本帖子中包含更多资源

您需要 登录 才可以下载或查看,没有账号?立即注册

x

277

主题

1万

回帖

0

牛值

管理员

fnOS1.0上线纪念勋章

2025-9-28 19:04:52 显示全部楼层
系统没有获取到磁盘信息导致,磁盘性能原因导致存储空间初始化比较慢
但我是M2的固态作为系统盘,另外一块SSD固态是跳过PVE直通给了飞牛,这种情况还是性能原因吗  详情 回复
2025-10-7 09:13

0

主题

2

回帖

0

牛值

江湖小虾

2025-10-7 09:13:07 楼主 显示全部楼层
飞牛技术同学 发表于 2025-9-28 19:04
系统没有获取到磁盘信息导致,磁盘性能原因导致存储空间初始化比较慢

但我是M2的固态作为系统盘,另外一块SSD固态是跳过PVE直通给了飞牛,这种情况还是性能原因吗
您需要登录后才可以回帖 登录 | 立即注册

本版积分规则