设备环境:(物理机、局域网、系统版本号0.9.29)
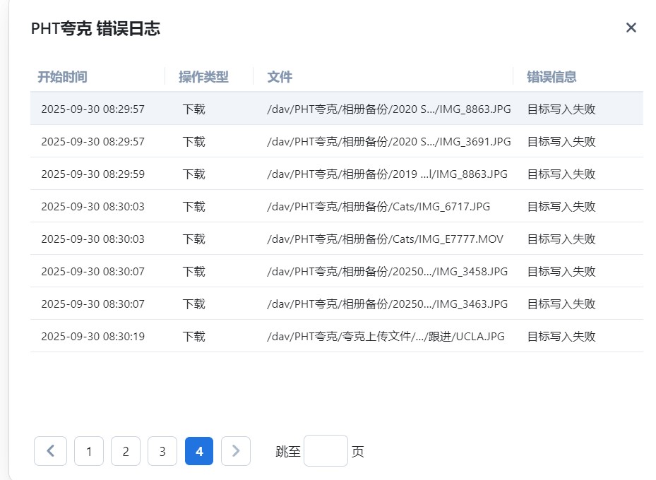
BUG现象:我使用飞牛OS自带备份界面,备份Alist挂载的夸克网盘,用挂载WEBDAV目录的方式,备份到本地存储空间内:(为什么要Alist挂载,在用webDav挂载到飞牛?因为飞牛的远程挂载夸克网盘,可以成功,但备份界面没得选,无法选中远程挂载的项目),如果源目录内有0字节的文件,必然产生一条“目标写入失败”的错误,0字节文件不会在目标目录内创建,并导致备份完成后,整个备份计划被标记为部分完成警告状态。
出现频率:(必现)
联系方式:不用
日志文件:备份的信息可以显示,但没法导出,没有导出或另存的按钮。放2个截图吧,错误信息中“目标写入失败”的,都是源目录里的0字节文件。


附件过大无法上传可以通过飞牛外链分享或者百度网盘提供日志文件