收起左侧

飞牛备份:子文件过多时无法上传到网盘(阿里云盘)

4
回复
728
查看
[ 复制链接 ]

2

主题

37

回帖

0

牛值

系统先锋体验团🛩️

2025-10-3 12:42:28 显示全部楼层 阅读模式

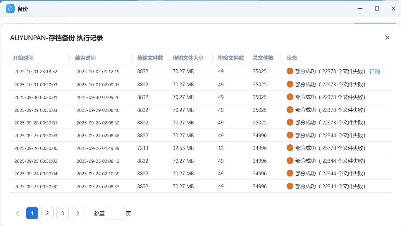
同一份文件,有83.16G,共35025个文件(其中大部分为小文件),如果是通过飞牛备份,同步到Openlist的Crypt(同步到阿里云盘),则没法同步完成,仅能完成8832个(如下图),有22373个文件同步失败。

image.png

如果是通过飞牛备份系统加密后同步到百度网盘,则能同步成功。

image.png

需求:希望用飞牛同步到Openlist,再加密同步到网盘时,大量文件也能同步成功。

收藏
送赞
分享

本帖子中包含更多资源

您需要 登录 才可以下载或查看,没有账号?立即注册

x

277

主题

1万

回帖

0

牛值

管理员

fnOS1.0上线纪念勋章

2025-10-10 15:07:36 显示全部楼层
麻烦补充一下系统诊断日志我们排查看看
您好,请问有结果了吗?谢谢  详情 回复
2025-10-24 00:10
Debug_Log_20251012110856(飞牛分享):https://s.fnnas.net/s/c7fb994be7b44e088b  详情 回复
2025-10-12 11:13

2

主题

37

回帖

0

牛值

系统先锋体验团🛩️

2025-10-12 11:13:09 楼主 显示全部楼层
[quote][size=2][url=forum.php?mod=redirect&goto=findpost&pid=183589&ptid=39174][color=#999999]飞牛技术同学 发表于 2025-10-10 15:07[/color][/url][/size] 麻烦补充一下系统诊断日志我们排查看看[/quote]

Debug_Log_20251012110856(飞牛分享):https://s.fnnas.net/s/c7fb994be7b44e088b

2

主题

37

回帖

0

牛值

系统先锋体验团🛩️

2025-10-24 00:10:58 楼主 显示全部楼层
飞牛技术同学 发表于 2025-10-10 15:07
麻烦补充一下系统诊断日志我们排查看看

您好,请问有结果了吗?谢谢
1.1.18有对备份进行优化,更新后可以测试一下  详情 回复
2026-2-3 20:08

277

主题

1万

回帖

0

牛值

管理员

fnOS1.0上线纪念勋章

2026-2-3 20:08:23 显示全部楼层
gunana 发表于 2025-10-24 00:10
您好,请问有结果了吗?谢谢

1.1.18有对备份进行优化,更新后可以测试一下
您需要登录后才可以回帖 登录 | 立即注册

本版积分规则