收起左侧

飞牛同步频繁唤醒休眠硬盘问题

3
回复
558
查看
[ 复制链接 ]

1

主题

25

回帖

0

牛值

系统先锋体验团🛩️

2025-10-9 17:15:13 显示全部楼层 阅读模式

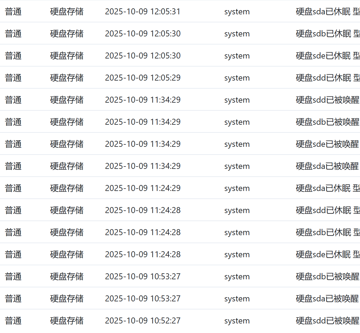
我设置的是硬盘30分钟后休眠,只要电脑启动飞牛同步,无论有没有同步任务,涉及到有同步任务的硬盘均会自动唤醒,然后到达休眠时间又开始休眠,循环往复,望解决。。。

已经排查过,确定是飞牛同步的问题。。。

如图:

image.png

收藏
送赞
分享

本帖子中包含更多资源

您需要 登录 才可以下载或查看,没有账号?立即注册

x

1

主题

25

回帖

0

牛值

系统先锋体验团🛩️

2025-10-9 17:19:56 楼主 显示全部楼层

再附一张正常休眠的图片,区别就是没有开电脑。。。

image.png

本帖子中包含更多资源

您需要 登录 才可以下载或查看,没有账号?立即注册

x

277

主题

1万

回帖

0

牛值

管理员

fnOS1.0上线纪念勋章

2025-10-13 19:25:24 显示全部楼层
这个情况我们试试能不能复现
已解决。。。经测试发现是一台电脑远程连接飞牛不稳定,APP重连后,硬盘被唤醒  详情 回复
2025-10-20 09:01

1

主题

25

回帖

0

牛值

系统先锋体验团🛩️

2025-10-20 09:01:25 楼主 显示全部楼层
飞牛技术同学 发表于 2025-10-13 19:25
这个情况我们试试能不能复现

已解决。。。经测试发现是一台电脑远程连接飞牛不稳定,APP重连后,硬盘被唤醒
您需要登录后才可以回帖 登录 | 立即注册

本版积分规则