收起左侧

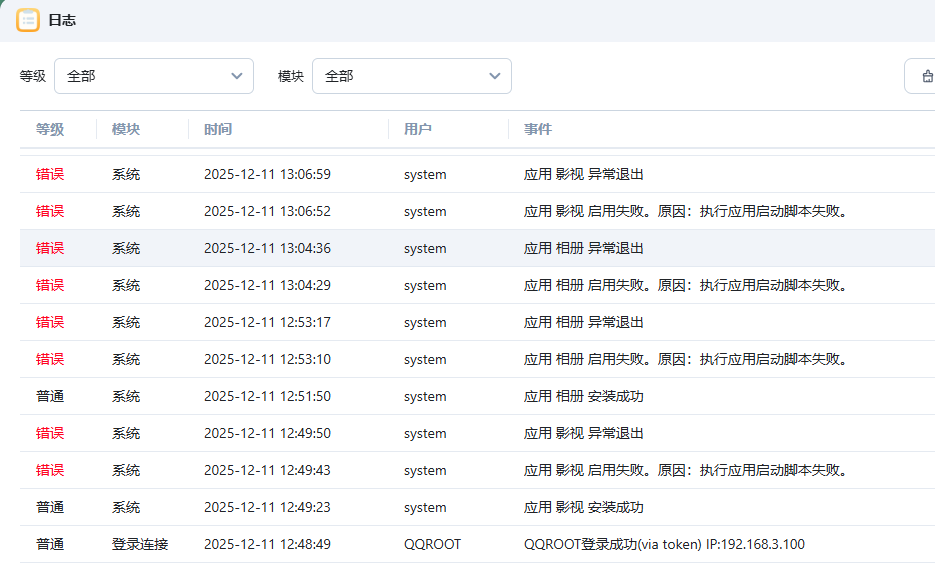
更新系统后,影视、相册无法启用,日志提示:执行应用启动脚本失败

2
回复
414
查看
[ 复制链接 ]

0

主题

0

回帖

0

牛值

江湖小虾

2025-12-11 13:31:05 显示全部楼层 阅读模式

设备环境:物理机 Intel G620、局域网、系统fnOS 1.1.4

BUG现象:本地局域网登录,发现影视、相册无法启用,多次尝试,包含卸载重新安装都无法启用

出现频率:必现

微信号:River_0_0_

日志文件:https://share.fnnas.net/s/f85c689fcc59460085

image.png

收藏
送赞
分享

本帖子中包含更多资源

您需要 登录 才可以下载或查看,没有账号?立即注册

x

277

主题

1万

回帖

0

牛值

管理员

fnOS1.0上线纪念勋章

2025-12-16 15:05:45 显示全部楼层
日志无法打开麻烦重新补充一下

5

主题

21

回帖

0

牛值

江湖小虾

2025-12-16 16:40:02 显示全部楼层
好了吗 我发现我这个也是
您需要登录后才可以回帖 登录 | 立即注册

本版积分规则