收起左侧

大文件不能同步?

4
回复
311
查看
[ 复制链接 ]

1

主题

3

回帖

0

牛值

江湖小虾

2026-1-7 14:42:29 显示全部楼层 阅读模式

设备环境:fnos最新版,飞牛同步最新版,本地计算机win11

BUG现象:飞牛同步,大文件同步失败,同步过程中能看到临时文件,但传完之后nas上没有文件了,同步日志里显示“原文件或路径不存在”,本地计算机文件还好好地在那里

1e605766-a3ea-4674-a8cd-7194d0e4026e.png

出现频率:必现

联系方式:18071117211

收藏
送赞 1
分享

本帖子中包含更多资源

您需要 登录 才可以下载或查看,没有账号?立即注册

x

277

主题

1万

回帖

0

牛值

管理员

fnOS1.0上线纪念勋章

2026-1-10 16:37:16 显示全部楼层
没有对同步文件大小做限制的,导出飞牛同步的日志我们看看

1

主题

3

回帖

0

牛值

江湖小虾

2026-1-12 09:08:15 楼主 显示全部楼层

screenshot_20260112090246.png
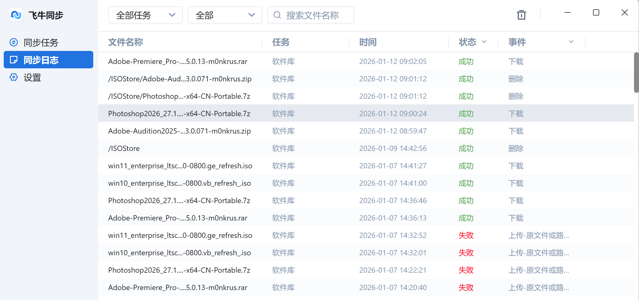
非常奇怪的现象啊,当时同步的时候这个文件夹的文件不是出了我说的问题吧,我通过SMB拷到NAS对应目录了,然后看起来后面只要同步一次,就会删除掉NAS上这个目录的文件,刚刚看的情况是,同步的时候会往本地下载(但本地目录是有这几个文件的),下载完成之后就自动删除了NAS上的同名文件,这就导致了最后明明NAS上这几个对应的文件没有了,本地同步目录对应文件在,但同步显示完成。

日志我不知道导哪去了,点导出,然后不知道文件在哪,没提示sweat

本帖子中包含更多资源

您需要 登录 才可以下载或查看,没有账号?立即注册

x

1

主题

3

回帖

0

牛值

江湖小虾

2026-1-12 09:10:29 楼主 显示全部楼层

看来也不是文件大小限制了,我其他目录里有macos的镜像包十几个G的,正常的很

1

主题

3

回帖

0

牛值

江湖小虾

2026-1-12 09:28:26 楼主 显示全部楼层

本地我新建了一个文件夹,把这几个文件放进去,删除原来那个目录的时候提示“系统目录……”,是这个原因?反正新建了目录之后,就都正常了

您需要登录后才可以回帖 登录 | 立即注册

本版积分规则