设备环境:N100小主机,M.2 装系统和应用分区,USB3.0外接2块SATA存储
BUG现象:我昨天新装的飞牛系统最新版:fnos-1.1.23-1627.iso,就装了个飞牛影视,数据盘里有之前飞牛的视频分区,装完系统直接挂载了数据盘,添加了飞牛影视资源,就这样空跑了一晚上
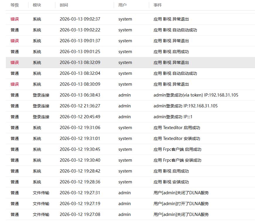
今天早上用FN Connect连接发现很多异常:
- 日志里有飞牛影视退出日志

- 打开很多地方转圈,加载好久可能才会出现【打不开SSH服务 也没法登陆系统去看系统日志】

- 开启SSH 服务报错 :

- 我的文件,加载中。。

- docker服务启动不了

出现频率:(偶现/必现)
联系方式:(18766567787)
日志文件:日志诊断选择保存位置,选择文件夹 转圈。。。