收起左侧

应用程序异常退出,1.1.11和1.1.15全部出现

1
回复
97
查看
[ 复制链接 ]

2

主题

9

回帖

0

牛值

江湖小虾

2026-1-27 09:19:03 显示全部楼层 阅读模式

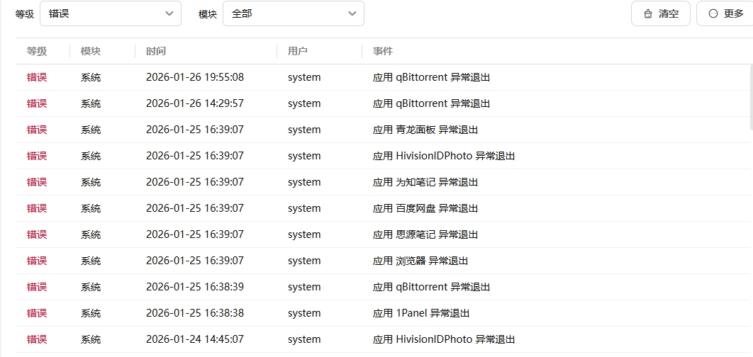
设备环境:物理机1.1.15

BUG现象:应用异常退出,除飞牛官方发布的软件,其他软件全部异常退出,软件可以通过ip+端口号的形式正常访问,看论坛发现不是个例了

出现频率:必现,重启后多次出现

123.png

收藏
送赞
分享

本帖子中包含更多资源

您需要 登录 才可以下载或查看,没有账号?立即注册

x

266

主题

1万

回帖

0

牛值

管理员

fnOS1.0上线纪念勋章

2026-3-6 19:59:31 显示全部楼层
请尽快更新到1.1.18及以上版本降低后续使用的安全风险,如无法正常更新可参考链接尝试修复或直接重装系统,如需协助处理可私信联系飞牛技术同学。https://club.fnnas.com/forum.php?mod=viewthread&tid=53830
您需要登录后才可以回帖 登录 | 立即注册

本版积分规则